? ? ? ? ?????KJT-LK-I???????????????????????????????????????????????????????????????????????????????????????,??????????????????????????。?????????????????????????????,?????????????????????????????????????????????????????????。??????????????????????????????????????????????????????????????????。
? ? ? ? ????????????????????????????????????????????????????????????????????????????,???????????????????????,?????????????????????????????????????????????????,????????????????????20°???????????????????????????,???????????????????????。

| ??????????????? | -30℃~+50℃ |
| ???????????????? | ???????????85% |
| ??????????? | ??????20° |
| ????? ??? | 75° |
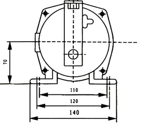
| ?????????????? | 70-100N |
| ????????????? | 1????????????????,1???????????????(????????????????????????????2????????????????;2??????????????? |
| ????????????????????? | AC380V/5A |
| ?????????? | ????????? |
| ??????????????? | >10?????????? |
| ??????????????? | IP65/IP67 |
| ??????? | 4Kg |